Iklan 300x250

39 2004 gsxr 600 wiring diagram

Suzuki инструкции и сервис-мануалы Suzuki GSX1100F Wiring Diagram. Suzuki GSX-R250 Owners Manual. Suzuki GSX-R600K4 04 Parts Microfiche. SUZUKI GSX-R600 SERVICE MANUAL Pdf Download | ManualsLib GSX-R600 motorcycle pdf manual download. Suzuki GSX-R600 Service Manual. Hide thumbs Also See for GSX-R600 FI System Wiring Diagram. 172.

Файловый архив 1. LS600HL - Emergency Response Guide. Разместил: SerKuper Дата: 03-03-22.

2004 gsxr 600 wiring diagram

2004 gsxr 600 wiring diagram

Suzuki GSX-R 600 2004 Service Manual | Suzuki Motorcycles Service Manual for Suzuki GSX-R 600 2004 motorcycles. Service Manual Suzuki GSX-R, a great reference for the repair and maintenance. Service Manual, fix motorcycle yourself with a repair manual. Content Suzuki GSX-R 600 2004 Service Manua General Information General precautions Serial number location Fuel, oil and engine coolant recommendation Break-in procedures Cylinder Identification ... 04 Gsxr 600 Wiring Diagram - Wiring Diagram Schemas Suzuki gsxr600 gsxr 600 electrical wiring harness diagram schematics 1993 1994 here. Check the hose clips for tightness and inspect the trunking for any cracks or splits and as well as every the vacuum system the small bore pipes and fittings for cracks and missing parts. Документации к Suzuki Suzuki GSR 600 - Руководство пользователя (RU, 4.6 MB). Suzuki GSR 750 technical information (EN, 3.0 MB). Suzuki gsxr 750 К6/К7 - Service Manual (EN, 46.0 MB). Suzuki Intruder 1400 Reparaturanleitung (DE, 12.5 MB).

2004 gsxr 600 wiring diagram. Repair / Service manuals - Suzuki Suzuki gsx r 600 2004 Service manual. Suzuki gsxr 1000 k 2 Wiring diagram. gsxr 600 wiring diagram Questions & Answers (with Pictures) - Fixya Find solutions to your gsxr 600 wiring diagram question. ...gsxr 600 srad 1998 what colors on my pin out connector do I change around @ Hi, Darren for this scenario you will need your service manual that has all fastener torque specs and a wiring diagram on ... Gsxr 750 vs 600 wiring harness? - YouTube Missing plug on GSXR 600 wiring harness vs. GSXR 750 wiring harness. What is it? Suzuki GSX-R 600 2004-2005 Service Manual | Suzuki Motorcycles Service Manual, fix motorcycle yourself with a repair manual. Content Suzuki GSX-R 600 2004-2005 Service Manual. General Information. General precautions. Serial number location. Fuel, oil and engine coolant recommendation. Break-in procedures. Cylinder Identification. Information labels.

Honda Service Repair Manuals and... - MotorcycleManuals.Info Honda Motorcycles, Scooters & ATVs workshop & service manuals, owner's manual, parts catalogs, wiring diagrams free download PDF; fault codes list. Honda Motorcycles, Scooters & ATVs: Service Repair Manuals and Owner's Manual PDF. See also: Honda CBR 600 F4i Fault Codes. Title. Gsxr 600 Wiring Diagram Pdf 2004 Gsxr 1000 Wiring... | autocardesign ...Wiring Diagram Wiring Schematic Diagram 11 just push the gallery or if you are interested in similar Gallery of Gsxr 600 Wiring Diagram Pdf 2004 Gsxr Diagram Wiring Schematic Diagram 11 can be a beneficial inspiration for those who seek an image according to specific categories like Wiring... Suzuki Alto Electrical Wiring Diagram | PDF | General Motors Marques suzuki gsxr600 gsxr. 600 electrical wiring harness diagram schematics 1997 - 2000 here. system wiring diagrams a/c circuit 1995 suzuki swift for x system wiring diagrams rear wiper/washer circuit (p. 27) 1995 suzuki swift. title: article print author: michael created date: 7/31/2004 9:13:53 am Page... Suzuki Gsxr 600 Wiring Diagram - Electrical Schematic Diagram Suzuki gsxr600 gsxr 600 electrical wiring harness diagram schematic 2001 to 2003 here. 1999 suzuki gsx r 600 wiring diagram hi billy for this scenario you will need your service manual that has all fastener torque specs and a wiring diagram on the back pages parts fiche and owners manual if you...

Lexus — Электросхемы Для Автомобилей Wiring Diagrams LEXUS by Year. Wiring Diagrams LEXUS by Model. HONDA - Motorcycles Manual Pdf, Wiring Diagram & Fault Codes HONDA Motorcycle Manuals PDF & Wiring Diagrams. Honda C100 Owner Manual. Looking for a 2021 cfmoto cforce 600 touring wiring diagram so I can install a blinker kit. donniefleming918@gmail.com I need a service manual for a Suzuki 2017 gsxr 600 please. [DIAGRAM] 2003 Gsxr 1000 Wiring Diagram FULL Version HD... Suzuki Gsxr 1000 Specs 2004 Wiring Diagram Database. Dm 4656 01 Gsxr 600 Tail Light Wiring Diagram Free Diagram. SUZUKI GSXR600 wiring diagram pdf 2004-200.pdf download - 2shared Mar 18, 2012 · Here you can download file SUZUKI GSXR600 wiring diagram pdf 2004-2005 Download. 2shared gives you an excellent opportunity to store your files here and share them with others. Join our community just now to flow with the file SUZUKI GSXR600 wiring diagram pdf 2004-2005 Download and make our shared file collection even more complete and exciting.

11 Diagrams ideas | gsxr 600, 2007 gsxr 600, diagram

11 Diagrams ideas | gsxr 600, 2007 gsxr 600, diagram

500 Suzuki ideas | suzuki, diagram, motorcycle wiring Sep 10, 2020 - Diagram Electrical and engine Suzuki. See more ideas about suzuki, diagram, motorcycle wiring. 2008 Suzuki Gsxr 600 Wiring Diagram.

Suzuki Motorcycle Wiring Diagrams

Suzuki Motorcycle Wiring Diagrams

2004 Suzuki GSX-R600 WIRING HARNESS Parts & OEM Diagram Navigate your 2004 Suzuki GSX-R600 WIRING HARNESS schematics below to shop OEM parts by detailed schematic diagrams offered for every assembly on your machine. OEM is an acronym for original equipment manufacturer, which means that the 2004 Suzuki GSX-R600 WIRING HARNESS OEM parts offered at BikeBandit.com are genuine Suzuki parts.

Wiring diagram 02 Daytona | Triumph Rat Motorcycle Forums

Wiring diagram 02 Daytona | Triumph Rat Motorcycle Forums

Suzuki Motorcycle 2004 OEM Parts Diagram for WIRING HARNESS ... Buy OEM Parts for Suzuki Motorcycle 2004 WIRING HARNESS Diagram

GSXR600 K4 K5 ECU ECM CDI black box computer brain (32920-29G ...

GSXR600 K4 K5 ECU ECM CDI black box computer brain (32920-29G ...

2007 gsxr 600 diagram in 2021 | 2007 gsxr 600, gsxr 600, yahoo... 2007 gsxr 600 diagram. Collection by D a.k.a. Flash. 2007 gsxr 600 wiring schematic - Yahoo Search Results Image Search Results.

Project: Convert K5 GSXR 600 speedometer to universal ...

Project: Convert K5 GSXR 600 speedometer to universal ...

2004 Gsxr 600 Wiring Schematic - Wiring Diagram Dec 09, 2017 · 2004 Gsxr 600 Wiring Schematic. Wiring diagram suzuki gsxr ajilbabcom portal diagrama de circuito 600 eléctrico electrical issues no end in sight gsx r motorcycle forums gier com 2004 oem parts for harness partzilla help question redundant ground 2005 gsxr600 south bay riders tps wires with 04 750 gauge issue sport bikes guide 2000 y order at ...

Suzuki Motorcycle 2004 OEM Parts Diagram for WIRING HARNESS ...

Suzuki Motorcycle 2004 OEM Parts Diagram for WIRING HARNESS ...

27 Volvo Trucks Service Manuals Free Download - Truck manual... Volvo Truck Wiring Diagrams Free Download. sir i have an articulated truck A40 D V1135K 309 kw,2004 can you [please help with manual and part book. I own a 2004 Volvo fl6 250 electric diesel engine truck. Please show me the location of the vehicle control unit.

COVER,SPEEDOMETER COUPLER for SV650S 2004 (K4) USA (E03 ...

COVER,SPEEDOMETER COUPLER for SV650S 2004 (K4) USA (E03 ...

Gsxr 600 Wiring Diagram Database Gsxr 600 Wiring Diagram from motogurumag.com. Print the cabling diagram off and use highlighters to trace the circuit. When you make use of your finger or stick to the circuit along with your eyes, it is easy to mistrace the circuit. A single trick that I 2 to printing a similar wiring plan off twice.

Dynojet PCFC Fuel Controller Suzuki GSXR 600 / GSXR 750 2004-2018

Dynojet PCFC Fuel Controller Suzuki GSXR 600 / GSXR 750 2004-2018

2004 GSXR 600 & 750 Service Manuals.... | Suzuki GSX-R Motorcycle... GSX-R600/GSX-R750 General forum. I am wanting two of them one for my 04 gsxr600 and one for the wifes 02 vtr1000f. 2004 Suzuki GSX-R600K4 Yellow/Black Full S/S Yoshimura shorten RS3 carbon, Yoshiumura Em-Pro ECU, BMC Race Filter, NYK Iridums, 520 Stealth & DID, Ohlins(front 25mm...

Buy Motorcycle Ignition Switch + Tank Gas Cap Cover + Seat ...

Buy Motorcycle Ignition Switch + Tank Gas Cap Cover + Seat ...

2001 Triumph tt600 Wiring diagram | Triumph Rat Motorcycle Forums I have a wiring diagram but, can't read the colors on the wires. When I try and blow the diagram up to see it, I really can't see it. Does anyone have a very clear picture of the diagram for a 2001 Triumph tt600? I'm having a problem with figuring out where the connection is for my R/R. Its between two...

Powercommander V für Suzuki GSXR 600 2004-2005

Powercommander V für Suzuki GSXR 600 2004-2005

2004 Gsxr 600 Wiring Diagram - autocardesign Jun 12, 2019 · 2004 Gsxr 600 Wiring Diagram – wiring diagram is a simplified gratifying pictorial representation of an electrical circuit. It shows the components of the circuit as simplified shapes, and the faculty and signal associates in the middle of the devices.

Suzuki GSX-R600 (2001-2005) Reparaturanleitung Clymer

Suzuki GSX-R600 (2001-2005) Reparaturanleitung Clymer

Suzuki workshop manuals for download, free! Suzuki wiring gsxr750 98. Suzuki_GS850G_Microfiches. Suzuki_GSX750F_Wiring_Diagram. Suzuki_GSXF750_Katana_Microfiches. Suzuki_GSX-R_600_2004_Service_Manual.

2005 Suzuki GSXR600 Motorcycle OEM Parts | MotoSport

2005 Suzuki GSXR600 Motorcycle OEM Parts | MotoSport

2006 Gsxr 600 Wiring Diagram - Wiring Schema Suzuki gsxr600 gsxr 600 electrical wiring harness diagram schematics 1997 2000 here. Right here are a few of the top drawings we get from various sources we really hope these photos will certainly work to you and ideally extremely relevant to exactly what you want concerning the 2007 gsxr 600...

Katana Wiring

Katana Wiring

Документации к Suzuki Suzuki GSR 600 - Руководство пользователя (RU, 4.6 MB). Suzuki GSR 750 technical information (EN, 3.0 MB). Suzuki gsxr 750 К6/К7 - Service Manual (EN, 46.0 MB). Suzuki Intruder 1400 Reparaturanleitung (DE, 12.5 MB).

The Suzuki T20 'Super Six' x6 wiring diagram

The Suzuki T20 'Super Six' x6 wiring diagram

04 Gsxr 600 Wiring Diagram - Wiring Diagram Schemas Suzuki gsxr600 gsxr 600 electrical wiring harness diagram schematics 1993 1994 here. Check the hose clips for tightness and inspect the trunking for any cracks or splits and as well as every the vacuum system the small bore pipes and fittings for cracks and missing parts.

Suzuki GSX-R600 (2008-2009) - Service / Repair Manual - Wiring Diagrams -  Owners Manual

Suzuki GSX-R600 (2008-2009) - Service / Repair Manual - Wiring Diagrams - Owners Manual

Suzuki GSX-R 600 2004 Service Manual | Suzuki Motorcycles Service Manual for Suzuki GSX-R 600 2004 motorcycles. Service Manual Suzuki GSX-R, a great reference for the repair and maintenance. Service Manual, fix motorcycle yourself with a repair manual. Content Suzuki GSX-R 600 2004 Service Manua General Information General precautions Serial number location Fuel, oil and engine coolant recommendation Break-in procedures Cylinder Identification ...

Suzuki Motorcycle Wiring Diagrams

Suzuki Motorcycle Wiring Diagrams

replace ignition with on/off switch | TLZone Forums

replace ignition with on/off switch | TLZone Forums

Suzuki 2007 gsxr 600 Manuals | ManualsLib

Suzuki 2007 gsxr 600 Manuals | ManualsLib

wiring diagram | Suzuki GSX-R Motorcycle Forums Gixxer.com

wiring diagram | Suzuki GSX-R Motorcycle Forums Gixxer.com

FAQ: Colored wiring diagram --> all sv650 models - Suzuki ...

FAQ: Colored wiring diagram --> all sv650 models - Suzuki ...

Installation documentation for MXL p&p

Installation documentation for MXL p&p

Regler Suzuki GSXR 600/750/1000 1300 VL1500

Regler Suzuki GSXR 600/750/1000 1300 VL1500

500 Suzuki ideas | suzuki, diagram, motorcycle wiring

500 Suzuki ideas | suzuki, diagram, motorcycle wiring

NEED HELP!! Hose diagram | Sport Bikes

NEED HELP!! Hose diagram | Sport Bikes

Suzuki Motorcycle Wiring Diagrams

Suzuki Motorcycle Wiring Diagrams

SOLVED: 2004 Suzuki GSX-R 600 diagram pengkabelan - Fixya

SOLVED: 2004 Suzuki GSX-R 600 diagram pengkabelan - Fixya

Suzuki Motorcycle Wiring Diagrams

Suzuki Motorcycle Wiring Diagrams

TPS wires

TPS wires

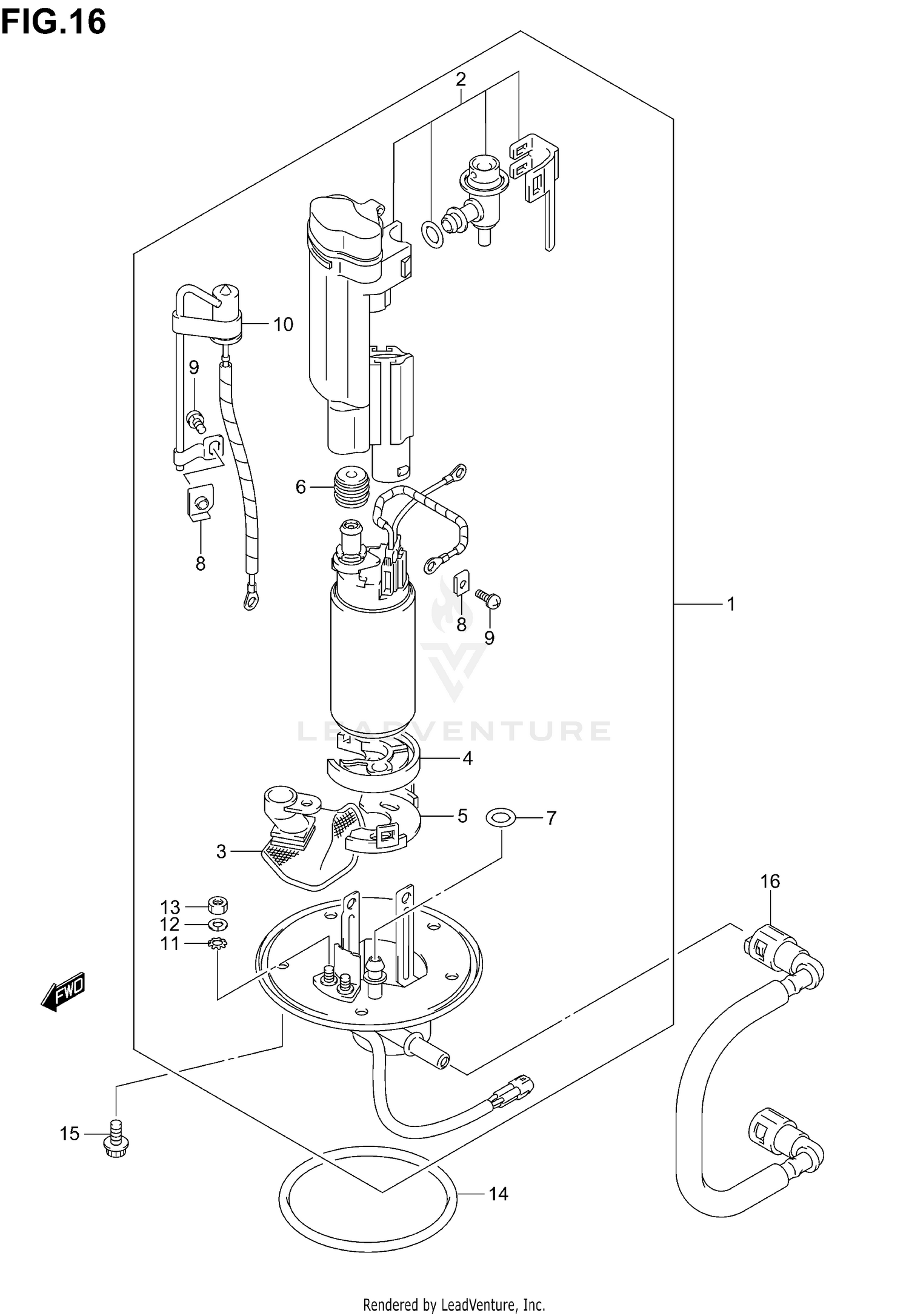
Suzuki GSXR600 2004 (K4) USA (E03) parts lists and schematics

Suzuki GSXR600 2004 (K4) USA (E03) parts lists and schematics

Suzuki GSXR600 2004 (K4) USA (E03) parts lists and schematics

Suzuki GSXR600 2004 (K4) USA (E03) parts lists and schematics

Installation and operating instructions Digital gear ...

Installation and operating instructions Digital gear ...

easy way to wire up 06-07 gsxr handlebar switches?? | DO THE TON

easy way to wire up 06-07 gsxr handlebar switches?? | DO THE TON

Tb6600 Wiring Diagram - Complete Wiring Schemas | Gsxr 600 ...

Tb6600 Wiring Diagram - Complete Wiring Schemas | Gsxr 600 ...

ApriliaForum sponsored by AF1 Racing, inc.

ApriliaForum sponsored by AF1 Racing, inc.

Having problems wiring up horn | Suzuki GSX-R Motorcycle ...

Having problems wiring up horn | Suzuki GSX-R Motorcycle ...

Werkstatthandbuch Haynes Suzuki GSX-R600, GSX-R750 (04/05) und GSX-R1000  (03/08)

Werkstatthandbuch Haynes Suzuki GSX-R600, GSX-R750 (04/05) und GSX-R1000 (03/08)

Headlight wiring harness identification needed | Suzuki GSX-R ...

Headlight wiring harness identification needed | Suzuki GSX-R ...

Digitale Wochenschaltuhr Perry 1IO1071

Digitale Wochenschaltuhr Perry 1IO1071

I have a suzuli GSXR 750 sling shot 1991 model wher can i ...

I have a suzuli GSXR 750 sling shot 1991 model wher can i ...

0 Response to "39 2004 gsxr 600 wiring diagram"

Post a Comment

Iklan Atas Artikel

Iklan Tengah Artikel 1

Iklan Tengah Artikel 2

Iklan Bawah Artikel