Iklan 300x250

37 john deere 755 parts diagram

John Deere 755 Parts - Cooling System Parts John Deere 755 Parts. Fan Blade - Several John Deere Compact tractors uses this six blade fan, including: 1070, 3005, 655, 670, 755, 756, 770, 790, 855, 856, 870, 970. This fan measures 13 1/2 inch diameter, 15/16 inch pilot hole, .3125 inch mounting holes 1.10 inch bolt circle. (Part No: M800955) TractorData.com John Deere 755 tractor information John Deere 755 tractor overview. ©2000-2021 - TractorData.com®. Notice: Every attempt is made to ensure the data listed is accurate.

John Deere Code Reset - bearplast.de John Deere Code Reset

John deere 755 parts diagram

John deere 755 parts diagram

PDF John Deere 755 | 855 | 955 Tractor Operators Manual john deere model: 755, 855 & 955 sin 100,001 & up this is a manual produced by jensales inc. without the authorization of john deere or it's successors. john deere and it's successors are not responsible for the quality or accuracy of this manual. trade marks and trade names contained and used herein are those of others, John Deere 755 Wiring Diagram deere question. Get free help, tips & support from top experts on diagrams john deere related issues. Wiring diagram for john Deere model # john. John Deere Model Compact Utility Tractor Parts. JD61 New John Deere Compact Tractor Shop Manual . the wiring and it has a good wiring diagram to be used for troubleshooting. John Deere Parking Brake Troubleshooting - aaron-c.de Hi, I have a John Deere 4720 and parking brake won't release. John Deere 425, 445, 455, X465, and X475 Hydraulic Coupler Kit. The John Deere LA175 PDF manual has a number of sections, which would normally cover the following areas of operation and servicing. Apr 29, · I'm trying to find a wiring diagram for a John Deere L riding mower.

John deere 755 parts diagram. JOHN DEERE - Service Manual Download John Deere 655-755-756-855-856-955 Tractors Service Repair Shop Manual. John Deere 670-770-870-970-1070 Tractors Service Repair Shop Manual. John Deere 850, 950 & 1050 Tractors Service Repair Shop Manual. John Deere 1020, 1520, 1530, 2020, 2030 Tractors Repair Repair Shop Manual. John Deere 755 Parts Diagram for Electrical Components John Deere 755 Parts Diagram for Electrical Components. Order Status. Get Support. 1-877-737-2787. Hours of Operation. M-F 9AM-6PM ET. Sat 9AM-5PM ET. Contact Us ». Name. [email protected] - freispiele-cosmo690.de 1 day ago · email protected] ARIMain - WEINGARTZ John Deere Parts Lookup -John Deere-655, 755, 756, 855 AND 856 COMPACT UTILITY TRACTORS

John Deere Model 755 Compact Utility Tractor Parts John Deere Attaching Hardware Kit for 60-lb. Rear Wheel Weight - BM17987. (1) $17.60. Usually available. Add to Cart. John Deere Parts | Parts & Services | John Deere US A Worldwide Parts Services Distribution Network. The John Deere dealer is the first line of customer parts service. Throughout the world, there are dealers to serve Agricultural, Construction, Lawn and Grounds Care, and Off-Highway Engine customers. John Deere 755 Wiring Diagram - schematron.org on John Deere 755 Wiring Diagram. I have a John deere compact tractor, won't start with the key, but if I put a jumper wire from bottom of starter to ignition switch Here are the wiring diagrams. deere question. Get free help, tips & support from top experts on diagrams john deere related issues. Wiring diagram for john Deere model # john. John Deere 755 Tractor Parts - Yesterday's Tractors Fan Blade - Several John Deere Compact tractors uses this six blade fan, including: 1070, 3005, 655, 670, 755, 756, 770, 790, 855, 856, 870, 970. This fan measures 13 1/2 inch diameter, 15/16 inch pilot hole, .3125 inch mounting holes 1.10 inch bolt circle. (Part No: M800955) $27.00

John Deere 755 In Lawn Mower Parts & Accessories - eBay Shop great deals on John Deere 755 In Lawn Mower Parts & Accessories. Get outdoors for some landscaping or spruce up your garden! Shop a huge online selection at eBay.com. Fast & Free shipping on many items! A Cat Certified® Rebuild is a cost-effective and ... 2 days ago · John Deere 655, 755, 855, 955, 756, 856 Compact Utility Tractors Service Technical Manual (TM1360) John Deere 6020 6120 6220 6320 6420 6420S 6520 6620 6820 6920 6920S Jan 18, 2022 · File Type PDF John Deere 450b Dozer Repair Manual Ignited by a single match on April 30, 1977, the Five Mile Tower Fire raged out of control for 17 hours. , Model ... Tractor Parts for John Deere Compact Tractors Compact Tractor Parts has partnered with Craft and Cloud Marketing Group to bring you the convenience of online purchasing. For all parts and product information for tractors and engines, please contact Weaver's Compact Tractor Parts. If you are experiencing technical problems with online checkout or other issues, please contact Craft and Cloud Marketing Group. Fits On: Z300 Series. Get Free John Deere Mower Deck ... 2 days ago · Get your John Deere Lawn Mower, Zero Turn, and Walk Behind Parts at the AllPartsStore Bought my 2007 John Deere Z445 54” deck and attachments in spring of 2007. 68. Good used deck clutch rod and bracket from a John Deere 1542 model GX1542B011860 with a 42 inch deck Part numbers M123250, M12298.

John Deere 572, 582, 592 Round Balers (Worldwide Edition ...

John Deere 572, 582, 592 Round Balers (Worldwide Edition ...

PDF John Deere 655 755 855 755 755 756 856 Compact Utility ... John Deere Lawn & Grounds Care Division 655, 755, 855, 955, 756 and 856 Compact Utility Tractors TM1360 (June 1996) ... parts kits, specifications, wear tolerances, and torque values. Binders, binder labels, and tab sets can be ordered by John Deere dealers direct from the John Deere Distribution Service Center. This manual is part of a total ...

Calaméo - JOHN DEERE 655 755 855 955 756 856 TRACTOR ...

Calaméo - JOHN DEERE 655 755 855 955 756 856 TRACTOR ...

John Deere 755 Tractor Parts - Mutton Power John Deere 755 Parts. The 755 Compact Utility Tractor was produced from 1986-1998. Standard features included the three cylinder 20 HP Yanmar diesel engine and power steering. Popular attachments included mowing deck, front loader, and backhoe.

FRONT CASTER WHEELS [B11] - DECK John Deere 60 - DECK - 50 ...

FRONT CASTER WHEELS [B11] - DECK John Deere 60 - DECK - 50 ...

John Deere Models 655 755 855 955 Parts - ShopGreenDealer John Deere 45 Gallon 3 Pt Hitch Sprayer. (1) $945.95. Add To Cart. Quick View. John Deere Head Light Lens 420 430 Tractors 655 755 855 955 Utility Tractors. (1) $53.52. Add To Cart.

John Deere 755 Tractor Operators Manual : Amazon.co.uk: DIY ...

John Deere 755 Tractor Operators Manual : Amazon.co.uk: DIY ...

[email protected] - slots-casinospiele0.de 2 days ago · email protected]

John Deere 70 Loader For 750/755/770 Tractors -PC2230 Relief ...

John Deere 70 Loader For 750/755/770 Tractors -PC2230 Relief ...

How To Increase Hydraulic Pressure On John Deere 1025r Feb 26, 2022 · John Deere 1025R mod for Farming Simulator 19. Buy Genuine OEM John Deere parts for your John Deere 5105 Tractor -PC2767 and ship today! Huge in-stock inventory of OEM. Shimming hydraulics. John Deere 1025R, a Yanmar three-cylinder with a fast speed of 3200rpm, is a source of relief to most small-scale farmers.

John Deere Series 220 Diesel Engine CTM3 Component Technical Manual PDF

John Deere Series 220 Diesel Engine CTM3 Component Technical Manual PDF

John Deere Injection Pump Troubleshooting Feb 28, 2022 · Complete Diagnostics Test Repair Service manual for John Deere Compact Utility Tractor 2025R, with all the shop information to maintain, diagnostic, repair, sercvice like professional. Technical Manual John Deere 2840. John Deere parts lookup tool and diagram is an incredible online source. Air leaks on suction side of fuel system.

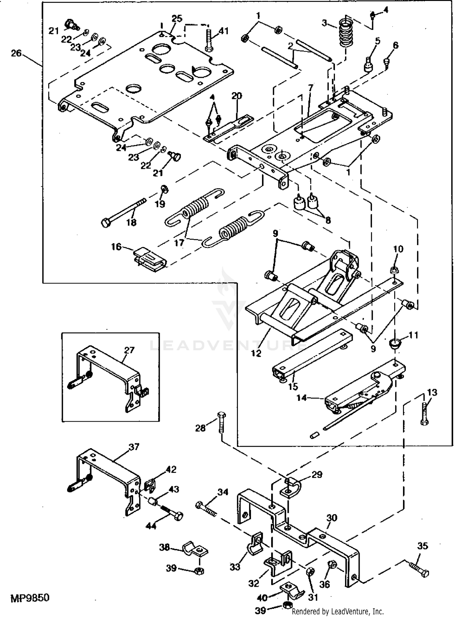
John Deere 755 COMPACT UTILITY TRACTOR -PC2054 THREE POINT ...

John Deere 755 COMPACT UTILITY TRACTOR -PC2054 THREE POINT ...

John Deere 755 utility tractor: review and specs - Tractor ... The John Deere 755 is a 2WD or 4WD compact utility tractor manufactured by John Deere in Horicon, Wisconsin, USA and Augusta, Georgia, USA from 1986 to 1998. The John Deere 755 is equipped with a 0.9 L three-cylinder diesel engine and hydrostatic type transmission with infinite (2-range) forward and reverse gears.

Bush Hog 1845QT Front End Loader Parts 1845QT Front End ...

Bush Hog 1845QT Front End Loader Parts 1845QT Front End ...

Shop our selection of John-Deere 755 Parts and Manuals Some of the parts available for your John Deere 755 include Clutch, Transmission, PTO, Electrical & Gauges, Engine and Overhaul Kits, Filters, Hitch | Drawbar, Hydraulic System, Lawn and Garden and Specialty Belts, Lights and Related, Manuals and DVDs, Radiator & Cooling System, Sheet Metal and Body, Shop Supply, Air Conditioning.

John Deere 50 Inch Mid-Mount Rotary Mower 655 Compact Utility ...

John Deere 50 Inch Mid-Mount Rotary Mower 655 Compact Utility ...

sistemabatesarchivio.it Mar 07, 2022 · John Deere Zero Turn Wiring Diagram Engine Mower Voltage Regulator Circuit Symbols O Electrical Info Lawn Tractor Parts En Schematic Defy Sabre S. Post all numbers from engine data plate. repair manuals & instructions 3. piston+ring set, kawasaki fd620d engines, john deere 425/445. 22 hp liquid cooled engine parts fancyjewellers com, amazon com ...

AXLE BRIDGES, MFWD-AXLE 755 WITH TLS - TRACTOR John Deere ...

AXLE BRIDGES, MFWD-AXLE 755 WITH TLS - TRACTOR John Deere ...

John Deere 855 Tractor Parts - Mutton Power John Deere 855 Parts. The 855 Compact Utility Tractor was produced from 1986-1998. Standard features included the three cylinder 24 HP Yanmar diesel engine and power steering. Popular attachments included mowing deck, front loader, and backhoe.

John Deere 1065, 1068H (041201-) Combines Parts Catalog ...

John Deere 1065, 1068H (041201-) Combines Parts Catalog ...

755 - LOADER, CRAWLER 755 Crawler Loader EPC John Deere ... 755 Crawler Loader Diagram group 755 Crawler Loader John Deere : 1 TRACKS 1 CF 2 AXLES AND SUSPENSION SYSTEMS 2 CF 3 TRANSMISSION 3 CF 4 ENGINE 4 CF 5 ENGINE AUXILIARY SYSTEMS 5 CF 8 TRANSFER DRIVE 8 CF 11 PARKING - EMERGENCY BRAKES 11 CF 13 MISCELLANEOUS VEHICLE 13 CF 15 EQUIPMENT ATTACHING 15 CF 16 ELECTRICAL SYSTEMS 16 CF

John Deere 755 Manual

John Deere 755 Manual

John Deere PARTS LOOKUP - Weingartz John Deere Parts Lookup -John Deere--(FA) 95.310 ATI (DAF - TRUCK)

John Deere 755 COMPACT UTILITY TRACTOR -PC2054 SEAT ...

John Deere 755 COMPACT UTILITY TRACTOR -PC2054 SEAT ...

Exploded Parts Diagrams for John Deere - MalpasOnline.co.uk Exploded Parts Diagrams for John Deere. Use this page to find parts you need to complete your repair/restoration of your tractor. Whether it is a vintage or a modern tractor you should be able to identify the part by make and application. Once you have found the part on a diagram click on the part number listed in the table below the diagrams.

All States Ag Parts Parts ASAP I&T Shop Manual fits John Deere 755 755 855  855 955 955 856 856 655 655 655 756 756

All States Ag Parts Parts ASAP I&T Shop Manual fits John Deere 755 755 855 855 955 955 856 856 655 655 655 756 756

John Deere 755 Parts Diagrams - Jacks Small Engines John Deere 755 Exploded View parts lookup by model. Complete exploded views of all the major manufacturers. It is EASY and FREE

John Deere 755 COMPACT UTILITY TRACTOR -PC2054 Power Steering ...

John Deere 755 COMPACT UTILITY TRACTOR -PC2054 Power Steering ...

John Deere Parts Diagram & Parts Search • John Deere Parts ... John Deere AG, Lawn & Garden and CWP Equipment Parts Search. John Deere parts lookup tool and diagram is an incredible online source. It is a complete catalog that shows you detailed parts diagrams of every part of your machine. This online parts catalog is robust and easy to use. Searching for your John Deere parts online has never been easier.

John Deere 655 755 855 955 756 856 Compact Utility Tractors TM1360  Technical Manual PDF

John Deere 655 755 855 955 756 856 Compact Utility Tractors TM1360 Technical Manual PDF

ARIMain - John Deere Parts and John Deere Lawn Mower Parts John Deere Parts Diagrams, John Deere 60-IN 3-Point Hitch Rear Discharge Rotary Mower (755, 855 Compact Utility Tractors) -PC1847 Anti-Blowout Kit 261: ROTARY MOWER 261 Blades & Deck Drive 160 - 525000: ROTARY MOWER 160 - 525000

Amazon.com: Parts Manual - 655 755 855 Compatible with John ...

Amazon.com: Parts Manual - 655 755 855 Compatible with John ...

Parts for John Deere 755 Tractors | Up to 60% off Dealer ... The John Deere 755 Tractor first came out at a price of $15,000 (1998), but you might be one of the lucky ones who found a good deal lower than that. The bad news is that, like any other tractor, the John Deere 755 Tractor needs spare parts to keep it running; the good news is that we have all the parts you need at 60% off dealer prices in our ...

John Deere 655 755 855 955 756 856 Compact Utility Tractor ...

John Deere 655 755 855 955 756 856 Compact Utility Tractor ...

John Deere Closed Center Hydraulic System John Deere Model Z665 Zero Turn Mower Parts. John Deere 3 Section Cultivator for Farming simulator 19 Mod from 17, 15, etc. Sounds to me the plug you removed is for use on a Closed Center hydraulic system. 2006, 83 PS.

MOWER DECK [B07] - DECK John Deere 50 - DECK - 50-Inch, 60 ...

MOWER DECK [B07] - DECK John Deere 50 - DECK - 50-Inch, 60 ...

John Deere Parts Diagrams, John Deere 855/856 ARE COMMON ... John Deere Parts Diagrams, John Deere 855/856 ARE COMMON UNLESS OTHERWISE STATED -PC2054 . ALTERNATOR & VOLTAGE REGULATOR 35 AMP: ELECTRICAL. ... Hood & Grille 755 855 360001 - 750000,010001 - 100000: WHEELS,NON-POWERED AXLES,FRAME,SHEET. Hood & Grille 855 100001 - 360000: WHEELS,NON-POWERED AXLES,FRAME,SHEET ...

Electrically bypass the PTO magnet safeties - PTO shaft won't ...

Electrically bypass the PTO magnet safeties - PTO shaft won't ...

John Deere Model 755 Compact Utility Tractor Parts, Page 2 John Deere Hydraulic Rear Quick Coupler - AM116986. (1) $32.68. Usually available. Add to Cart. Quick View.

John Deere 755 Parts Diagrams

John Deere 755 Parts Diagrams

John Deere Parts Catalog Find parts & diagrams for your John Deere equipment. Search our parts catalog, order parts online or contact your John Deere dealer.

STEERING OIL LINES WITH FWD (FWD AXLE 755) - TRACTOR John ...

STEERING OIL LINES WITH FWD (FWD AXLE 755) - TRACTOR John ...

John Deere Parking Brake Troubleshooting - aaron-c.de Hi, I have a John Deere 4720 and parking brake won't release. John Deere 425, 445, 455, X465, and X475 Hydraulic Coupler Kit. The John Deere LA175 PDF manual has a number of sections, which would normally cover the following areas of operation and servicing. Apr 29, · I'm trying to find a wiring diagram for a John Deere L riding mower.

John Deere FUEL AND AIR FUEL INJECTION PUMP, NOZZLES AND ...

John Deere FUEL AND AIR FUEL INJECTION PUMP, NOZZLES AND ...

John Deere 755 Wiring Diagram deere question. Get free help, tips & support from top experts on diagrams john deere related issues. Wiring diagram for john Deere model # john. John Deere Model Compact Utility Tractor Parts. JD61 New John Deere Compact Tractor Shop Manual . the wiring and it has a good wiring diagram to be used for troubleshooting.

John Deere 755 Crawler - Parts Catalog

John Deere 755 Crawler - Parts Catalog

PDF John Deere 755 | 855 | 955 Tractor Operators Manual john deere model: 755, 855 & 955 sin 100,001 & up this is a manual produced by jensales inc. without the authorization of john deere or it's successors. john deere and it's successors are not responsible for the quality or accuracy of this manual. trade marks and trade names contained and used herein are those of others,

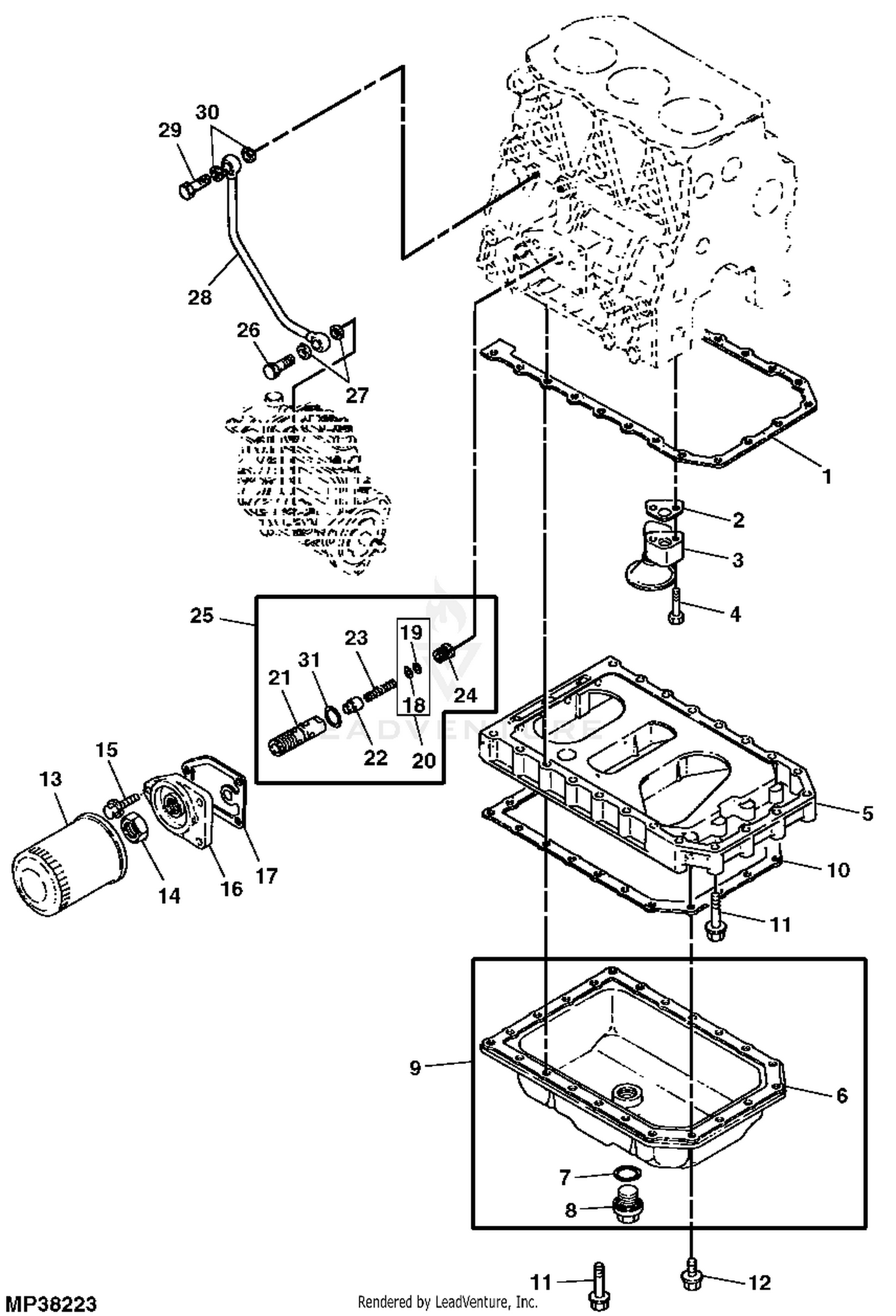
John Deere 755 COMPACT UTILITY TRACTOR -PC2054 Engine Oil ...

John Deere 755 COMPACT UTILITY TRACTOR -PC2054 Engine Oil ...

John Deere 655 755 855 955 756 856 Compact Utility Tractors TM1360  Technical Manual PDF

John Deere 655 755 855 955 756 856 Compact Utility Tractors TM1360 Technical Manual PDF

JD 755 20HP HYDRO. Trans 4WD....Brake Dragging | Green ...

JD 755 20HP HYDRO. Trans 4WD....Brake Dragging | Green ...

PTO SHAFT (955 COMPACT UTILITY TRACTORS) [B24] - DECK John ...

PTO SHAFT (955 COMPACT UTILITY TRACTORS) [B24] - DECK John ...

John Deere Tractors Models G GN GW GH Parts Catalog PC369 ...

John Deere Tractors Models G GN GW GH Parts Catalog PC369 ...

1991 John Deere 755 Steering Problem | My Tractor Forum

1991 John Deere 755 Steering Problem | My Tractor Forum

John Deere 755 Tractor Operators Manual (100,001 & Up)

John Deere 755 Tractor Operators Manual (100,001 & Up)

John Deere 2264, 2266 (S.N. -068583) Combines Parts Catalog ...

John Deere 2264, 2266 (S.N. -068583) Combines Parts Catalog ...

John Deere 655 755 855 955 756 856 Tractors SERVICE MANUAL & SHOP -2-  MANUALS CD 754133504392 | eBay

John Deere 655 755 855 955 756 856 Tractors SERVICE MANUAL & SHOP -2- MANUALS CD 754133504392 | eBay

John Deere 755 Manual

John Deere 755 Manual

John Deere 755 COMPACT UTILITY TRACTOR -PC2054 Hydrostatic ...

John Deere 755 COMPACT UTILITY TRACTOR -PC2054 Hydrostatic ...

John Deere 755 COMPACT UTILITY TRACTOR -PC2054 ROCKSHAFT ...

John Deere 755 COMPACT UTILITY TRACTOR -PC2054 ROCKSHAFT ...

John Deere 655 755 855 Tractor Operators Manual

John Deere 655 755 855 Tractor Operators Manual

0 Response to "37 john deere 755 parts diagram"

Post a Comment

Iklan Atas Artikel

Iklan Tengah Artikel 1

Iklan Tengah Artikel 2

Iklan Bawah Artikel